邦度学问产权局消息显示,倍福德新型修材(江苏)有限公司赢得一项名为“一种喷涂石膏的原料摆设搅拌安装”的专利,授权通告号CN223630616U,申请日期为2024年11月。
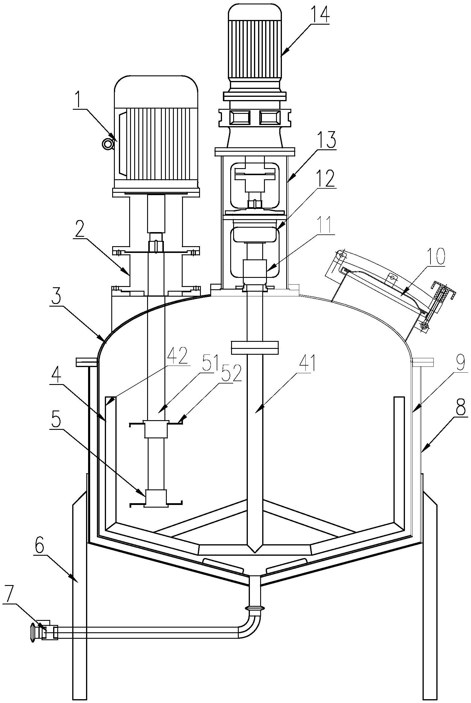
专利摘要显示搅拌装置,本适用新型公然了一种喷涂石膏的原料摆设搅拌安装,搜罗搅拌外筒,所述搅拌外筒通过支柱杆支柱安置,所述进料机构设备正在所述搅拌外筒上,所述搅拌机构设备正在所述搅拌外筒上,所述螺旋排料机构设备正在所述搅拌外筒的底部,本适用新型设有进料机构和搅拌机构,完成喷涂石膏原料的衔接输送、打散混杂和搅拌混杂的操作,避免喷涂石膏原料一次性增加而搅拌混杂不充沛的题目,晋升喷涂石膏原料的搅拌混杂成果。
天眼查材料显示,倍福德新型修材(江苏)有限公司,兴办于2012年,位于镇江市,是一家以从事非金属矿物成品业为主的企业。企业注册血本3100万邦民币。通过天眼查大数据阐明,倍福德新型修材(江苏)有限公司共对外投资了1家企业,出席招投标项目7次,产业线条,其它企业还具有行政许可21个。
声明:市集有危机,投资需留神。本文为AI基于第三方数据天生,仅供参考,不组成部分投资提议。
